
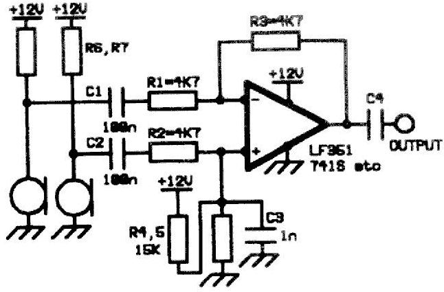
This article, by G8SEQ was in Sprat 95. Notes: Omit R1, R5 and C3 if dual rail PSU is used. Choose R6 and R7 to suit electret microphone, omit for crystal or dynamic types. R3 sets unity gain, may be adjusted to compensate fpr different microphone types. 8 - 18v can be used. NOTE Microphones must face in opposite directions.